标题:
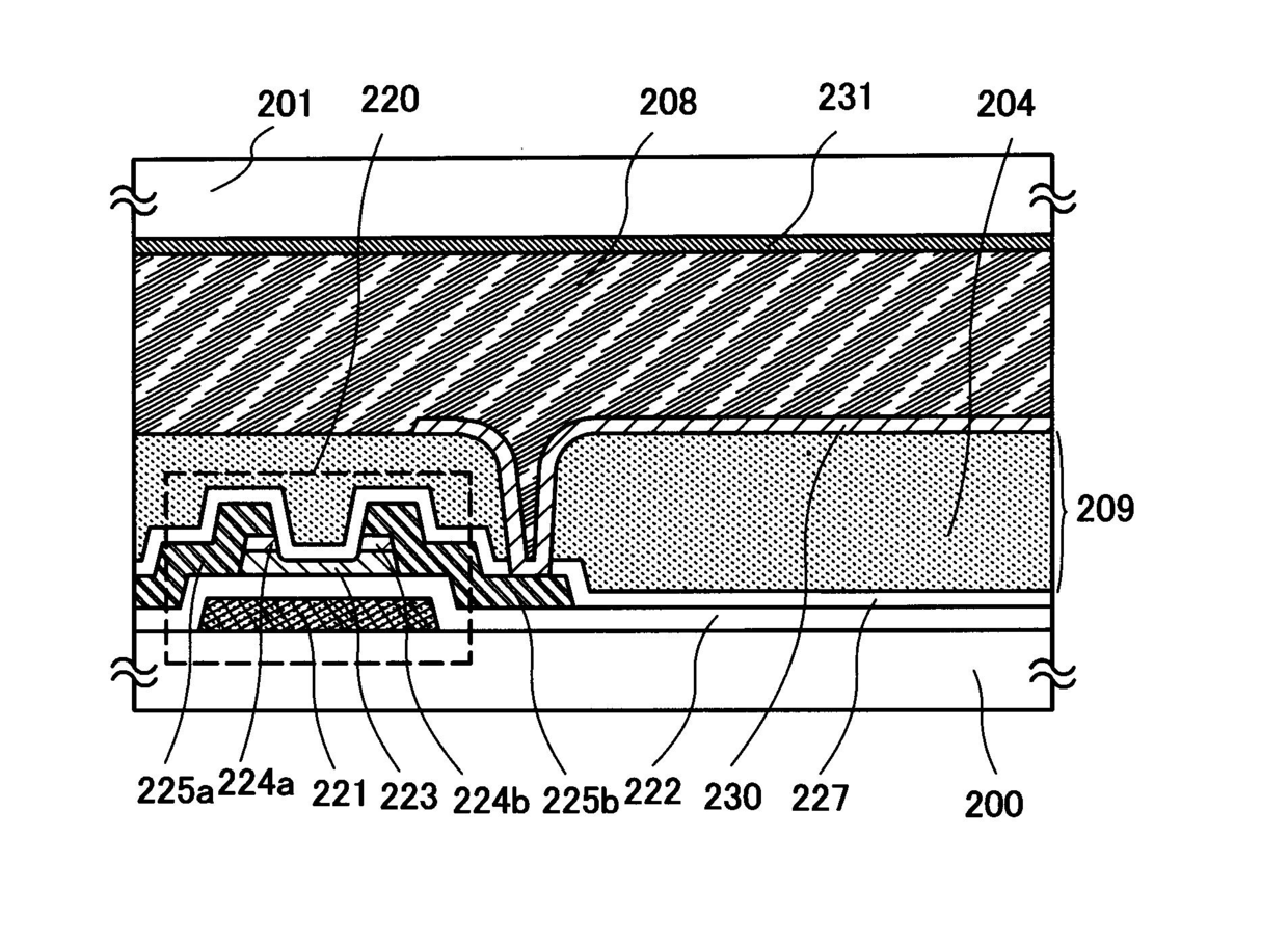
발명의 명칭 액정 표시 장치
授权日:
1900-01-01
公开(公告)号:
KR1020140135142A
申请日:
2014-11-10
公开(公告)日:
2014-11-25
当前申请(专利权)人:
가부시키가이샤 한도오따이 에네루기 켄큐쇼
发明人:
이시타니테츠지 | 쿠보타다이스케
简单同族:
CN101750820A | CN106066552A | EP2192437A1 | EP2192437B1 | JP2010152348A | JP2010152348A5 | JP2014095910A | JP2015111291A | JP2017083893A | JP2019049703A | JP2019148814A | JP2019148814A5 | JP2020042300A | JP6517990B2 | KR1020100061366A | KR1020140135142A | KR1020160095655A | KR1020170029476A | KR1020180064357A | KR1020190016995A | KR1020200015673A | TW201037406A | TW201520663A | TW201719255A | TW201732402A | TW201818535A | TW201929213A | TWI483038B | TWI571684B | TWI595297B | TWI616707B | TWI654754B | US10008608 | US10424674 | US20100134397A1 | US20130242223A1 | US20180019345A1 | US20190237583A1 | US8441425
简单同族成员数量:
39
简单同族被引用专利总数:
66
诉讼案件数:
0
法律状态/事件:
驳回