首页
专利数据库
产业人才
行业动态
产业政策法规
维权援助
个人中心
登录/注册
详情
文本
图像
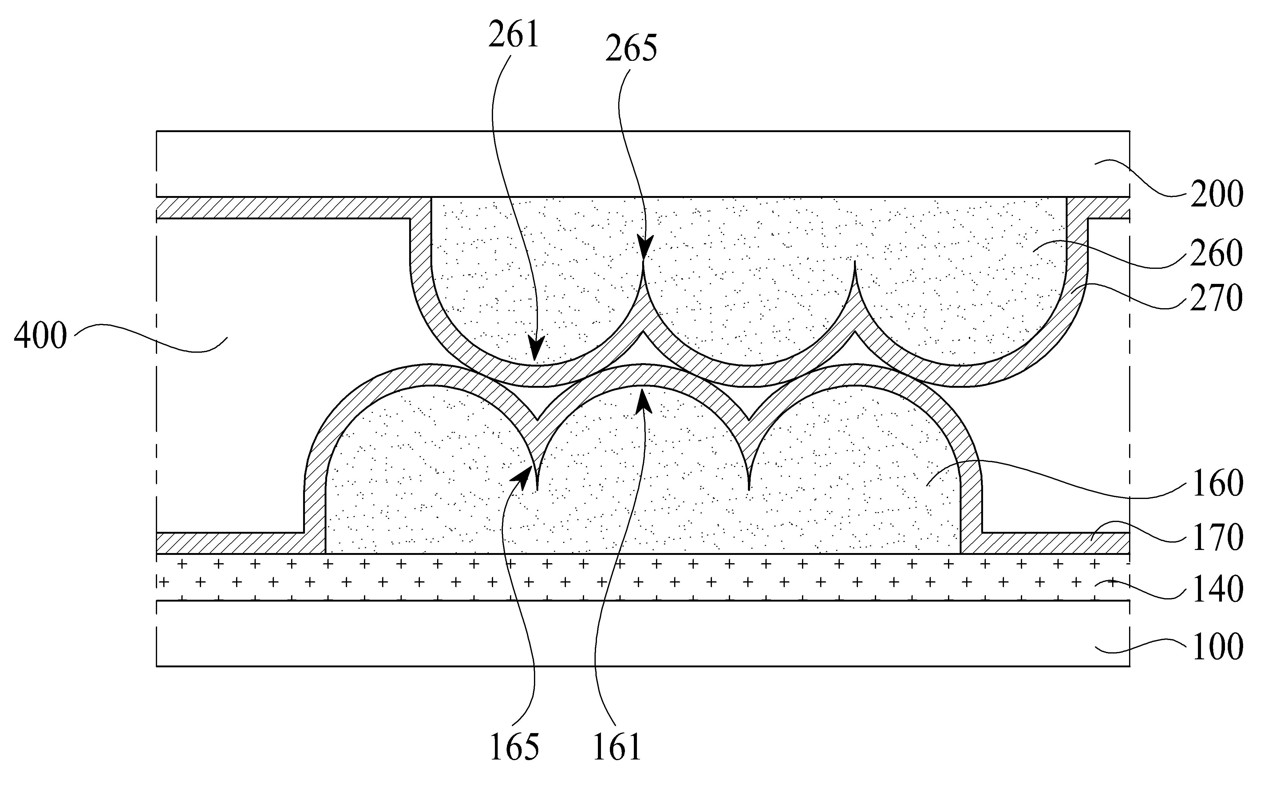
标题:
발명의 명칭 액정 표시 장치
授权日:
1900-01-01
公开(公告)号:
KR1020160069096A
申请日:
2014-12-05
公开(公告)日:
2016-06-16
当前申请(专利权)人:
엘지디스플레이 주식회사
发明人:
백승화
简单同族:
KR1020160069096A
简单同族成员数量:
1
简单同族被引用专利总数:
0
诉讼案件数:
0
法律状态/事件:
实质审查