首页
专利数据库
产业人才
行业动态
产业政策法规
维权援助
个人中心
登录/注册
详情
文本
图像
标题:
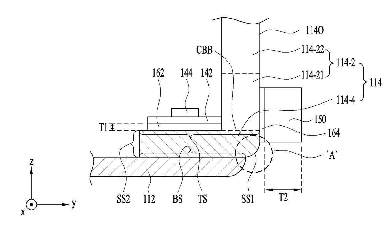
액정 디스플레이 장치 및 이 장치를 포함하는 차량용 디스플레이 유닛
授权日:
1900-01-01
公开(公告)号:
KR1020180000880A
申请日:
2016-06-24
公开(公告)日:
2018-01-04
当前申请(专利权)人:
엘지이노텍 주식회사
发明人:
오운수 | 김갑영 | 김민지 | 이미선 | 이진석 | 황선교
简单同族:
KR1020180000880A
简单同族成员数量:
1
简单同族被引用专利总数:
0
诉讼案件数:
0
法律状态/事件:
公开