首页
专利数据库
产业人才
行业动态
产业政策法规
维权援助
个人中心
登录/注册
详情
文本
图像
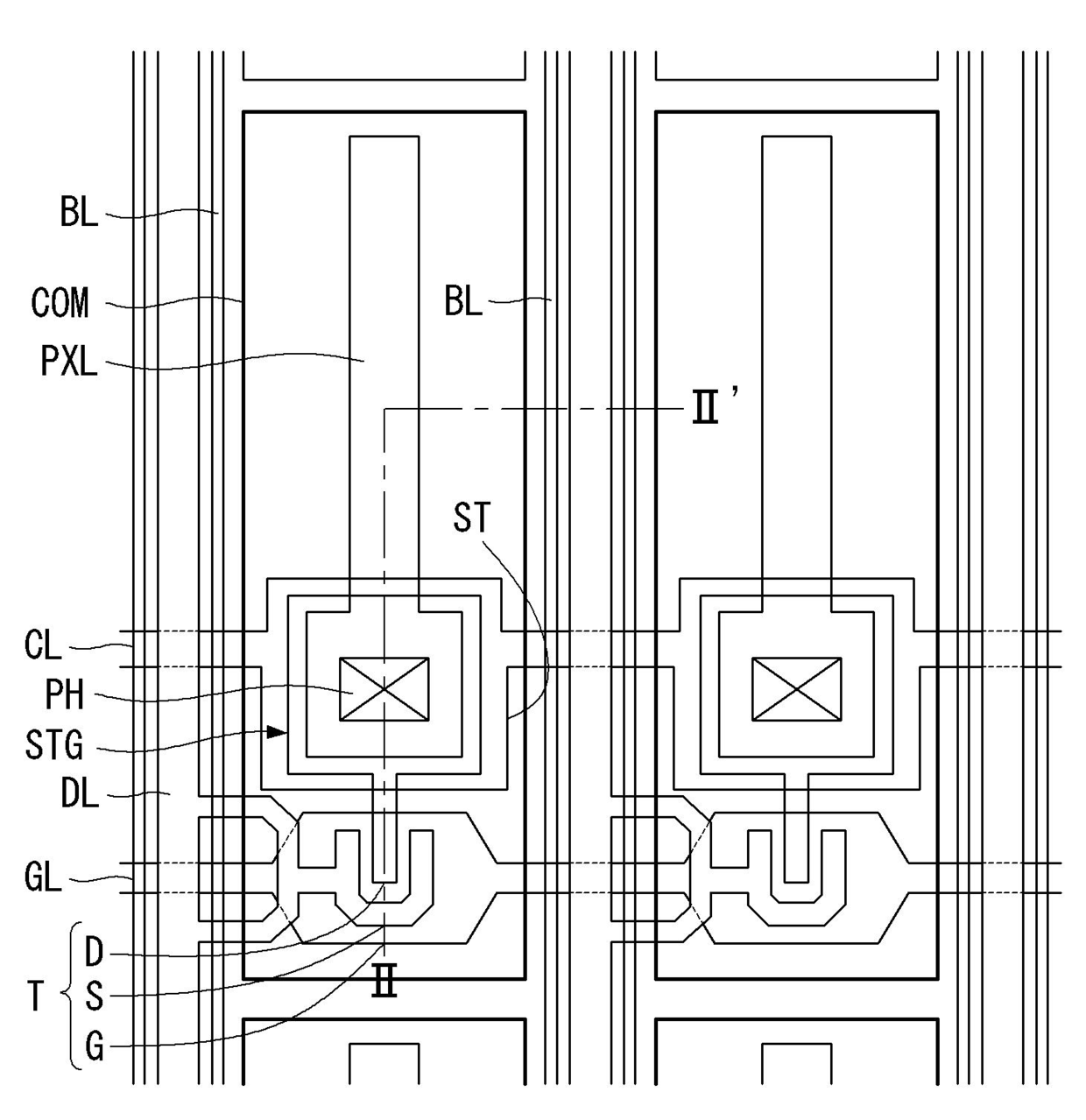
标题:
발명의 명칭 고 개구율을 확보한 초고 해상도 수평 전계 액정 표시장치
授权日:
1900-01-01
公开(公告)号:
KR1020170070905A
申请日:
2015-12-14
公开(公告)日:
2017-06-23
当前申请(专利权)人:
엘지디스플레이 주식회사
发明人:
이소영 | 정영민 | 신승환 | 서대영
简单同族:
KR1020170070905A
简单同族成员数量:
1
简单同族被引用专利总数:
0
诉讼案件数:
0
法律状态/事件:
实质审查