首页
专利数据库
产业人才
行业动态
产业政策法规
维权援助
个人中心
登录/注册
详情
文本
图像
标题:
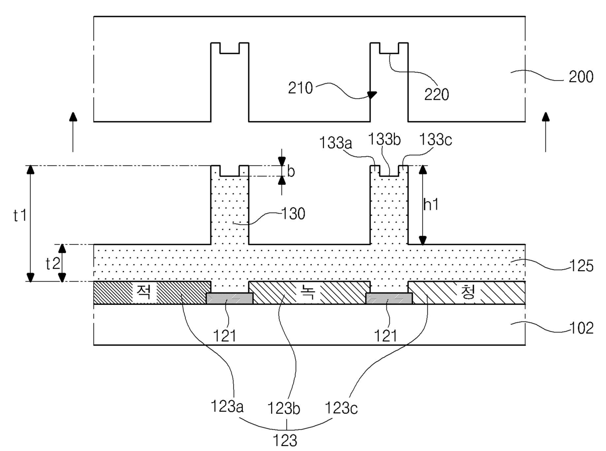
발명의 명칭 횡전계형 액정표시장치 및 횡전계형 액정표시장치용 컬러필터기판의 제조방법
授权日:
1900-01-01
公开(公告)号:
KR1020120025731A
申请日:
2010-09-08
公开(公告)日:
2012-03-16
当前申请(专利权)人:
엘지디스플레이 주식회사
发明人:
안진현 | 송태준 | 권당 | 조항섭 | 조성필 | 김호수 | 장두희
简单同族:
KR1020120025731A
简单同族成员数量:
1
简单同族被引用专利总数:
0
诉讼案件数:
0
法律状态/事件:
驳回