首页
专利数据库
产业人才
行业动态
产业政策法规
维权援助
个人中心
登录/注册
详情
文本
图像
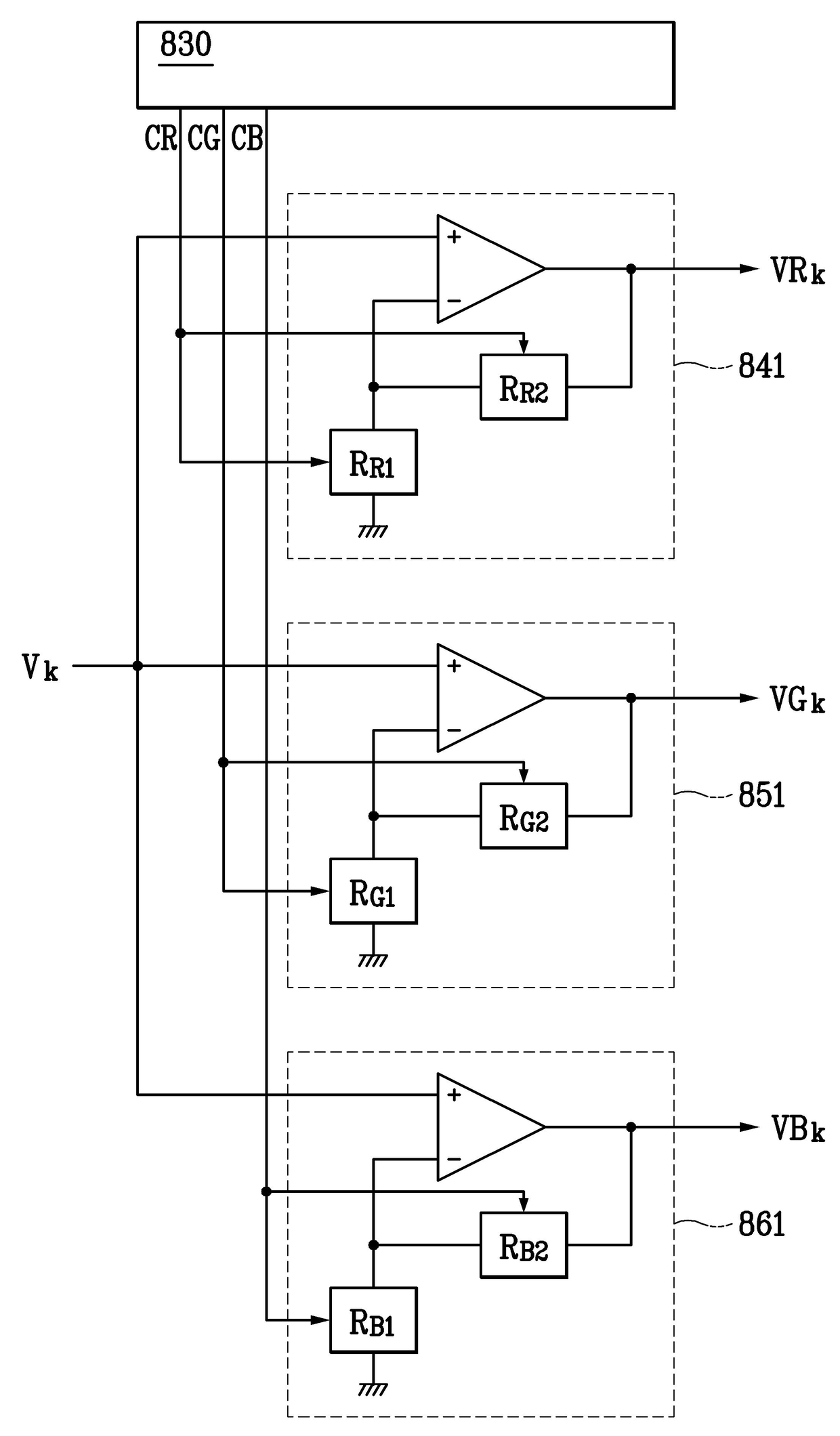
标题:
표시 장치
授权日:
1900-01-01
公开(公告)号:
KR1020080054031A
申请日:
2006-12-12
公开(公告)日:
2008-06-17
当前申请(专利权)人:
삼성전자주식회사
发明人:
이동환 | 지안호 | 김태헌 | 이철환 | 안형철 | 강수명 | 김영만 | 이태경 | 최은필
简单同族:
KR1020080054031A
简单同族成员数量:
1
简单同族被引用专利总数:
0
诉讼案件数:
0
法律状态/事件:
撤回