首页
专利数据库
产业人才
行业动态
产业政策法规
维权援助
个人中心
登录/注册
详情
文本
图像
标题:
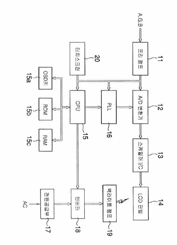
엘시디 모니터에 적용된 백라이트 램프의 수명 연장을 위한 장치
授权日:
2000-07-05
公开(公告)号:
KR200196294Y1
申请日:
2000-04-28
公开(公告)日:
2000-09-15
当前申请(专利权)人:
주식회사 정일 인터컴
发明人:
LEE,KANGWOOK
简单同族:
KR200196294Y1
简单同族成员数量:
1
简单同族被引用专利总数:
0
诉讼案件数:
0
法律状态/事件:
未缴年费 | 权利转移