首页
专利数据库
产业人才
行业动态
产业政策法规
维权援助
个人中心
登录/注册
详情
文本
图像
标题:
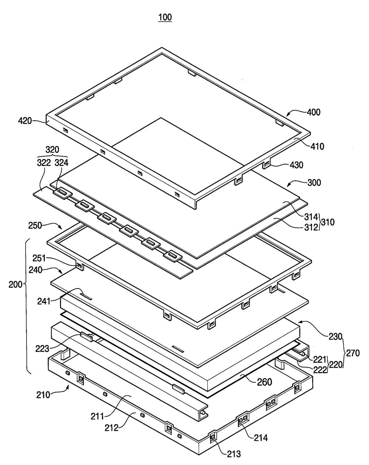
백라이트 어셈블리 및 이를 갖는 액정표시장치
授权日:
1900-01-01
公开(公告)号:
KR1020060134285A
申请日:
2005-06-22
公开(公告)日:
2006-12-28
当前申请(专利权)人:
삼성디스플레이 주식회사
发明人:
CHANG WOONG JAE
简单同族:
CN1885132A | CN1885132B | KR101189088B1 | KR1020060134285A | US20060290836A1 | US7714952
简单同族成员数量:
6
简单同族被引用专利总数:
96
诉讼案件数:
0
法律状态/事件:
未缴年费