首页
专利数据库
产业人才
行业动态
产业政策法规
维权援助
个人中心
登录/注册
详情
文本
图像
标题:
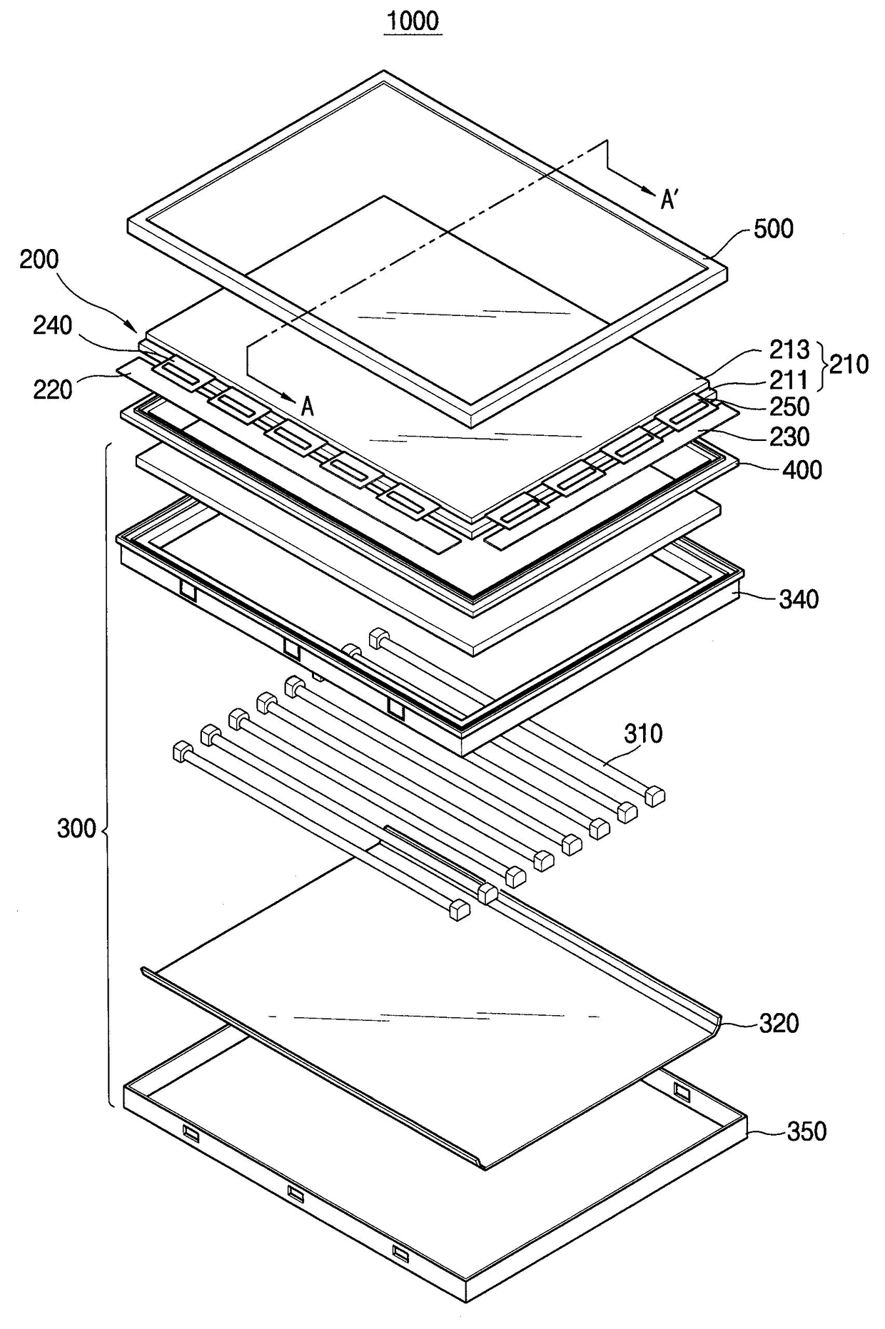
백 라이트 어셈블리 및 이를 갖는 직하형 액정 표시 장치
授权日:
1900-01-01
公开(公告)号:
KR1020040000625A
申请日:
2002-06-22
公开(公告)日:
2004-01-07
当前申请(专利权)人:
삼성전자주식회사
发明人:
김용일
简单同族:
CN100378538C | CN1467551A | JP2004029738A | KR100873085B1 | KR1020040000625A | TW200400388A | US20030234896A1 | US20070103937A1 | US7259810 | US7352418
简单同族成员数量:
10
简单同族被引用专利总数:
109
诉讼案件数:
0
法律状态/事件:
放弃