专利数据库
统计分析
产业报告
专利数据监控
产业人才
行业动态
产业政策法规
维权援助
个人中心
详情
文本
图像
标题
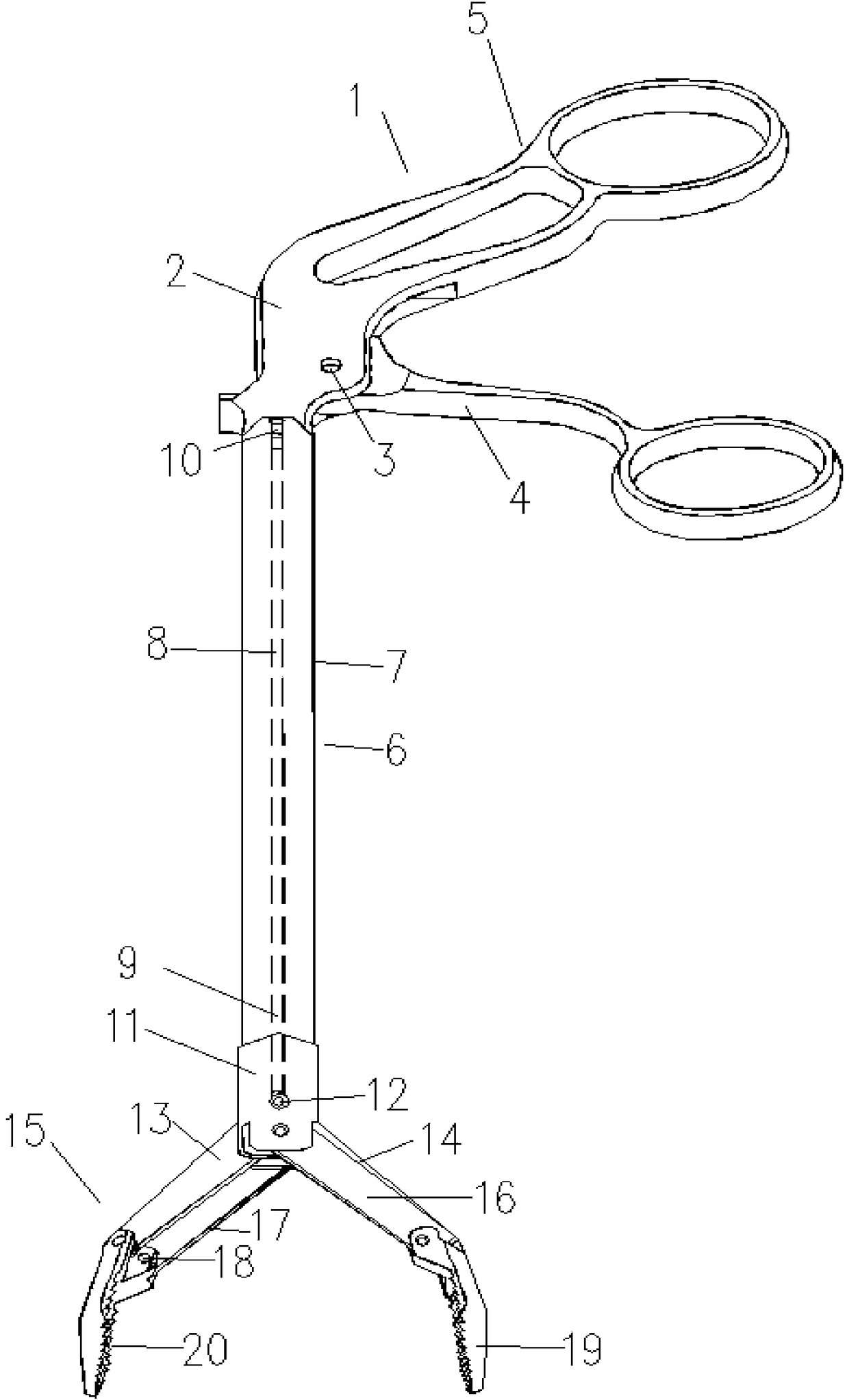
一种具有可平行移动抓钳的腹腔镜手术仪器
授权日
2015-04-15
公开(公告)号
CN204260789U
申请日
2014-12-04
公开(公告)日
2015-04-15
当前申请(专利权)人
王学栋
发明人
王学栋 | 王宏光 | 董家鸿
简单同族
CN204260789U
简单同族成员数量
1
简单同族被引用专利总数
0
诉讼案件数
0
法律状态/事件
未缴年费
抱歉,您的浏览器不支持PDF预览,请点击链接下载PDF文件